Title
您当前的位置: 首页 > > 文章详细
王健林等被追债38亿,“地产三雄”一个比一个惨!
发布时间:2026-04-15

  这几天的财经热点,被三位曾经叱咤风云的地产大佬轮番占据。

  4月12日,王石造谣“被抓”,即便迅速辟谣,但最后能不能“善终”还是个未知数;

  4月13日,许家印在深圳中院一审庭审中,面对八项罪名当庭认罪悔罪,昔日的地产首富,沦为阶下囚;

  4月14日,永辉超市发布公告,大连御锦需向永辉超市支付股权转让款、违约金等合计超38亿元,王健林等相关方承担连带担保责任。

  三天时间,三位地产黄金时代的标志性人物,集体坠入了各自的寒冬。

  38亿的连环债

  4月14日,永辉超市发布公告,公司近日收到上国仲送达的裁决书。

  依据裁决,大连御锦需向永辉超市支付剩余股份转让款36.39亿元,加速到期违约金约2.18亿元,以及律师费、财产保全费等相关费用。

  王健林、孙喜双以及大连一方集团对前述债务承担连带担保责任。

  这场纠纷的源头,要从十年前万达的高光时刻说起。

  2014年,万达商业在港交所成功上市,募资288亿港元,成为当年港股市场最大的IPO。

  彼时的万达,是中国商业地产当之无愧的王者,永辉超市作为国内零售龙头,也以战略投资者的身份入局,拿到了万达商业的股份。

  2016年,不满港股估值的王健林,推动万达商业私有化退市,承诺两年内回归A股上市,并与投资者签下了对赌协议:

  如果公司在退市满两年或2018年8月31日之前未能在内地主板市场上市,大连万达集团将回购全部股份,并向海外及境内投资者分别支付12%和10%的利息。

  这次的对赌协议,最终以失败结束。万达未能如期在2018年完成A股上市,触发了对赌协议,早期战投们纷纷寻求退出。

  永辉超市也在此列——彼时的永辉,自身也面临着连年亏损、现金流承压的困境,抛售万达商管股权,成了回笼资金最直接的选择。

  2023年12月8日,永辉超市与大连御锦贸易有限公司签下《股份转让协议》,将其持有的3.89亿股万达商管股份,以45.3亿元的总价转让给大连御锦,约定分8期支付股权转让款。

  这里有一个关键的细节,接盘方大连御锦,注册资本仅50万元,背后的实控人是孙喜双——王健林相识数十年的挚友、商业合作伙伴,大连一方集团的实控人。

  说白了,这是一笔万达系的“自接盘”交易,万达自身现金流紧张,无法直接回购股份,便找来了关联方接盘,给永辉一个退出通道。

  交易初期还算顺利,大连御锦按时支付了前两期转让款,合计约8.9亿元。

  但从2024年年中开始,大连御锦的付款就开始频频逾期,第三期款项便未能按时支付。

  此时的永辉,已经意识到了风险,却还是给了对方一次机会。

  2024年7月26日,永辉超市又与大连御锦、王健林、孙喜双、一方集团签订《补充协议》,将剩余转让款的付款方式,调整为分八期支付,并增设王健林、孙喜双及一方集团为担保方。

  由此,王健林成为这桩交易的“保人”之一。

  而彼时的万达商管,四次冲击港股IPO全部折戟,上市对赌已经触发,市场信心跌至谷底。

  大连御锦本身毫无偿付能力,没有王健林的个人背书,永辉绝不可能同意展期。

  果然,让步并没有换来履约。2024年10月10日,永辉超市宣布,由于大连御锦未在约定时间内支付第四期股权的转让款,公司已经发函,要求对方立即付款,并将向仲裁机构提起仲裁,追究大连御锦及王健林等多个担保方的法律责任。

  2026年4月14日,永辉超市发布公告,上海国际仲裁中心作出终局裁决,全部支持了永辉的仲裁请求。

  万达早已进退两难

  38.57亿元,对于巅峰时期的万达来说,不过是一笔再普通不过的项目投资。

  但对于2026年的万达而言,这笔钱,无疑是压垮骆驼的又一根稻草。

  因为如今的万达,早已深陷债务的泥潭,连每天的利息都快要还不上了。

  据21世纪经济报,万达集团总负债高达数千亿元,万达商管有息负债超千亿元,一年内到期债务超300亿元。

  过去三年,万达已经卖掉了超过80座万达广场,累计回笼资金超900亿元,但债务的雪球还是越滚越大。

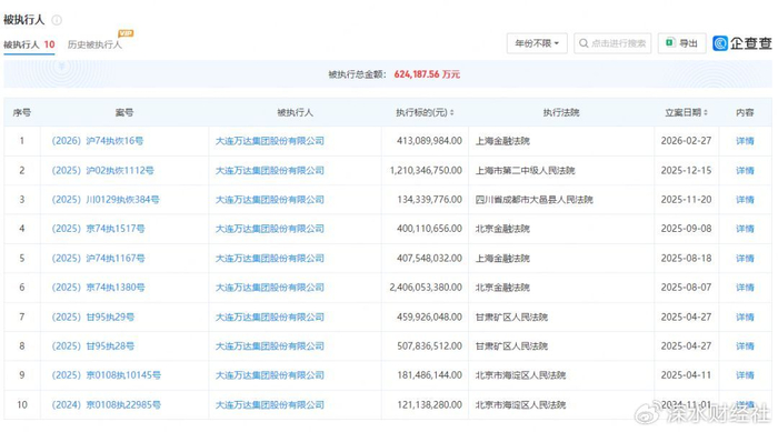
  图源:企查查

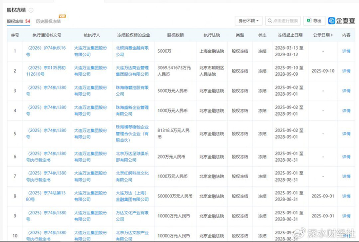
  企查查数据显示,截至2026年4月,大连万达集团现存10条被执行人信息,被执行总金额超过62亿元,累计股权冻结信息多达50条,被冻结的股权规模超过94亿元。

  从万达商管到万达文化,从金融板块到文旅板块,几乎所有核心子公司的股权,都处于冻结或轮候冻结状态。

  2026年1月,万达商管发行了一笔3.6亿美元的境外债券,票面利率高达12.75%,这已经是典型的垃圾债利率,相当于借高利贷续命。

  而这一次永辉的38.57亿仲裁裁决,无疑让万达本就紧绷的资金链,雪上加霜。

  从首富走到悬崖边

  2015年,王健林以2600亿元的身家,首次登顶中国首富;

  彼时的王健林,是中国地产行业的标杆,他执掌的万达,在全国拥有数百座万达广场,是当之无愧的商业地产王者。

  王健林的人生转折点,发生在2017年。

  2017年,著名的“股债双杀”事件爆发,万达遭遇了史无前例的流动性危机。

  为了断臂求生,王健林开启了一系列资产打包出售计划,商业资产包一拆为二,融创、富力分食文旅城和酒店资产,三方各取所需。

  万达王健林、融创孙宏斌、富力李思廉举杯庆祝

  那时候,所有人都以为,这是王健林和万达的至暗时刻。但现在回头看,那不过是这场漫长寒冬的开始。

  2017年的断臂求生,让万达暂时活了下来,却没能改变它的命运。

  王健林喊出了“轻资产转型”的口号,试图让万达摆脱对地产开发的依赖,转向商业运营,但两次上市对赌的失败,还是把万达和他自己,拖进了债务的深渊。

  如今的王健林,早已不复当年的风光。根据《2025新财富500创富榜》统计,王健林与王思聪的合计财富估值约为588.1亿元。

  与上年的1408.4亿元相比,短短一年时间里大幅缩水820多亿元,排名更是从上年的第9名急剧下滑至第51名。

  更关键的是,这些财富大多是无法变现的纸面富贵,他持有的核心股权,要么已经高比例质押,要么处于司法冻结状态,根本无法自由交易。

  2026年4月,上海金融法院发布的一则冻结信息,道尽了王健林如今的窘迫——他持有的北银消费金融公司5000万股权,被全额冻结,冻结期限长达三年。

  图源:企查查

  这笔5000万的股权,在巅峰时期的万达眼里,不过是不值一提的“边角料”资产,如今却也被冻结,可见王健林手头可动用的资产,已经所剩无几。

  三天时间,王石辟谣、许家印认罪、王健林被追债。

  这三位地产黄金时代的标志性人物,用各自的困境,为中国房地产的黄金时代,画上了一个悲凉的句号。

上一篇:
史无前例!荣耀试产11000mAh巨无霸电池:彻底告别充电宝
下一篇:
港口被封!能源海运上涨!钢价集体上涨!附今日钢厂调价汇总!
Title