Title
您当前的位置: 首页 > > 文章详细
一级市场再迎活水!510亿元央企战新基金正式“开闸”
发布时间:2026-03-10

  一级市场再次迎来重量级耐心资本。

  2月26日,国新基金公开发布央企战略性新兴产业发展基金有限责任公司(以下简称“战新基金”)子基金管理机构遴选公告。这意味着,央企战新基金从筹备设立阶段正式迈入市场化投资运作阶段。

  投向未来产业、新兴产业

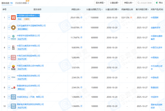
  战新基金由国务院国资委发起,委托中国国新控股有限责任公司(下称“中国国新”)设立和管理。基金于2025年10月29日在北京启动,首期规模510亿元,其中中国国新拟出资约150亿元。

  从基金结构设计来看,央企战新基金充分体现了长期资本、耐心资本的定位。该基金投资期为5年,管理和退出期为8年,其中投资期最多可延长2年,合计15年。

  在具体投向规定上,央企战新基金将紧密围绕新一代信息技术、人工智能、新能源、新材料、高端装备、生物医药、量子科技等领域开展投资,支持国资央企补齐产业短板弱项、布局前沿创新。

  本次筛选的子基金投资战新产业和未来产业金额占比不低于70%。文件规定,资金应重点投向早期科技型企业、高速成长型科技领军企业、专精特新企业、独角兽企业、瞪羚企业、高等院校及科研院所等科技成果转化项目等,支持关键核心技术攻关和产业链补链强链。投资A轮融资及以前项目数量占比不低于50%,规模占比不低于30%;投资中央企业外部项目数量占比不低于50%,规模占比不低于30%。

  企查查数据显示,战新基金的其他出资方还包括北京金融街资本运营集团有限公司、中移资本控股有限责任公司、中国石化集团资本有限公司、中国石油集团昆仑资本有限公司、中国电信集团投资有限公司等。

  第一大股东中国国新成立于2010年12月22日,是国务院国资委监管的中央企业之一,2016年初被国务院国有企业改革领导小组确定为国有资本运营公司试点,2022年12月正式由试点转入持续深化改革阶段。截至2025年底,公司资产总额超万亿元,全年利润总额连续五年保持在200亿元以上。

  国资力量密集涌入一级市场

  从政策导向看,国家层面多次强调,要推动国有资本和国有企业向关系国家安全、国民经济命脉的重要行业集中,向战略性新兴产业集中。

  早在2024年年底,国务院国资委、国家发展改革委联合出台政策措施,推动中央企业创业投资基金高质量发展,支持中央企业发起设立创业投资基金,重点投早、投小、投长期、投硬科技。

  政策东风之下,央企系创投母基金加速落地,成为国资布局一级市场、赋能硬科技的核心力量。

  2025年5月,中央企业创业投资母基金——诚通科创投资基金(北京)正式落地,规划总规模300亿元,首期规模100亿元,由中国诚通牵头,联合中国石化、中国航油等共同出资设立。该基金锚定“硬科技”投资主航道,重点布局新材料、先进制造、新一代信息技术三大核心领域。2025年12月,由国务院国资委指导,中国诚通发起设立的第二只总规模100亿元的创业投资基金——诚通科创投资基金(江苏)完成工商登记,与北京基金形成“母基金+直投基金”的协同效应。

  2025年以来,国家军民融合产业投资基金二期、国家创业投资引号基金和服务贸易创新发展引号基金二期三只国家级基金先后落地。此外,2026年初《关于加强政府投资基金布局规划和投向指导的工作办法》和《政府投资基金投向评价管理办法》正式印发,标志着政府投资基金从粗放式管理向精细化管理转变。

  清科最新数据显示,从在管基金(含母基金)的认缴规模来看,2025年,国资背景管理人基金管理规模占据主导地位,占全市场七成份额,35.7%的国资机构管理了行业内七成资金。另外,近年来国资控股管理人的资金规模优势愈发明显,基金管理规模占比已经从2014年的超两成上升至2025年的超六成,提升38个百分点。从出资规模来看,2025年国有控股和国有参股LP的合计披露出资金额占比达85.5%。

  一位投资人曾对记者表示,推动一级市场发展,要引入长期资金“活水”,适当降低国资LP返投要求。优化LP结构,推动国资LP强化市场化运作与激励机制,同时鼓励保险、养老金等长期资本入市,并支持专业化母基金发展,构建“耐心资本”体系。

  业内人士认为,未来,随着政策体系不断完善、国资布局持续深化,国有资本将进一步发挥杠杆效应,带动更多社会资本投早、投小、投硬科技,打通“科技—产业—金融”的良性循环,为科技创新成果转化、产业链强链补链注入动能,推动一级市场实现高质量发展。

  来源:上海证券报

  产融公会&启金智库将于2026年3月14-15日(周六/日)在上海举办《科技股权投资(人工智能/新材料/半导体/新能源/生物医药等)实务和案例专题培训》,本期特邀2位VC/PE和CVC资本实战派主讲嘉宾深度分享,系统性拆解新质生产力股权投资的全流程投资方法风控与行业赛道值发现,覆盖了投资逻辑策略、新兴技术有效性评价、发展趋势研判、投资时点把握、产业图谱分析、投资赛道挖掘、估值方法选择、财务法律尽调、风控措施实施、交易结构与关键条款设计、投后管理与退出策略、风险处置思路手段、成败案例复盘等实务内容,助力构建展业必备的知识体系与实战技能,诚邀您的参加!

  课程提纲

  第一天:新质生产力(新兴产业与未来产业)发展趋势和投资赛道:

  人工智能/新一代信息技术/半导体/新材料/新能源/生物医药投资的产业图谱、主要赛道、机会风险、有效技术评价、投资时机、估值方法实务和案例

  (时间:3月14日周六 9:00-12:00,13:30-16:30)

  ·主讲嘉宾:龚老师,盛堃投资创始合伙人,拥有20多年创投职业经历,工信部战略性新兴产业特聘咨询专家,科技部创新创业计划评审委员会委员,中国人民大学讲座教授,高级经济师。曾任江苏某政府产业基金总经理、伦敦亚洲投资基金中国区副总裁、Amersin Life Sciences Corp.武汉代表处首席代表、高成创投基金董事,以及在2家境内上市公司、大型国企、药企等机构担任中高层骨干,尤擅长新兴产业股权投资、企业境内外IPO上市并购、创业投资基金管理、产业并购基金管理、政府产业基金管理及综合资产管理等相关业务。

  一、新质生产力投资:逻辑框架、产业图谱、发展趋势、典型赛道

  (一)什么是新质生产力?

  (二)新质生产力的逻辑框架

  (三)新质生产力产业图谱:新兴产业+未来产业

  (四)未来产业:有望接力战略性新兴产业的中坚力量

  (五)新兴产业与未来产业的典型赛道

  二、怎样精准把握新兴产业投资的时机、有效技术评价?

  (一)怎样识别“有效”新兴技术?

  (二)“有效技术”的三维评价模型+产业项目赛道筛选

  (三)新兴技术:三视角全景对比

  (四)对新兴技术的定量评估

  三、人工智能行业投资:主要赛道、产业谱图、机会风险、估值及案例分析

  (一)人工智能与大模型:改变了什么、发展阶段

  (二)具身智能:发展现状、产业链、行业企业图谱

  (三)人形机器人:发展历程趋势、技术路径、产业链

  (四)人工智能的投资赛道、投资思路

  (五)人工智能企业:怎样估值?及案例分析

  四、新一代信息技术产业投资:行业发展、投资赛道、估值及案例分析

  (一)新一代信息技术的内涵外延变化

  (二)新一代信息技术产业图谱

  (三)新一代信息技术产业:四级细分制造产业布局明细

  (四)新一代信息技术产业外延的延伸

  (五)几个前沿领域分析

  (六)新一代信息技术企业:怎样估值?及案例分析

  五、半导体投资:产业链全景、投资逻辑、主要赛道、估值及案例分析

  (一)半导体产业链及成长驱动力

  (二)半导体材料的产业图谱及投资逻辑

  (三)半导体设备的产业图谱及投资逻辑

  (四)半导体的投资时钟

  (五)半导体的主要投资赛道和细分子行业

  (六)哪些半导体设备细分赛道处于国产替代加速突破阶段?

  (七)半导体企业:怎样估值?

  六、新材料行业投资:主要赛道、产业谱图、机会风险、估值及案例分析

  (一)新材料的产业图谱

  (二)新材料行业的投资逻辑

  (三)新材料行业的分析框架

  (四)新材料的几个赛道:前沿新材料、超高性能纤维等

  (五)新材料企业的估值方法与案例

  七、新能源行业投资:主要赛道、产业谱图、机会风险、估值及案例分析

  (一)新能源产业:现在在哪儿?

  (二)新能源赛道图谱:固态电池、钠离子电池、钙钛矿、液流电池与储能、氢能

  (三)技术路线发展实践、投资机会、风险要点

  (四)新能源企业的估值方法与案例

  八、生物医药行业投资:主要赛道、产业谱图、机会风险、估值及案例分析

  (一)生物医药产业图谱、发展趋势、现状和问题

  (二)生物医药:主要赛道

  (三)生物医药企业:怎样估值定价?及案例分析

  九、VC、PE、产业投资、并购、招商综合视角下项目资本运作要点

  十、答疑与交流

  破冰介绍及项目资源交流会

  学友介绍破冰、强化彼此认知、实现合作共赢

  (时间:3月14日周六 16:30-18:00)

  环节一:所有参会嘉宾自我介绍(可展示PPT)

  环节二:1V1针对性交流

  第二天:股权投资的投资管理与风险防控:

  投资逻辑、业务研判、财务法律尽调、交易结构设计、估值及风险缓释措施、协议关键条款设计、投后管理赋能、退出策略、风险处置化解实务和案例

  (时间:3月15日周日 9:00-12:00,13:30-16:30)

  ·主讲嘉宾:W老师,现任某央企产业资本资深人士,曾任多家头部集团公司金融板块投资部及风控部负责人等,专注于私募股权投资及风控工作15年,亲历多个项目的全生命周期实务操作:作为投资人,曾操作多个项目的成功投资和退出,拥有丰富的项目筛选、尽职调查、商务谈判、管理及退出经验。

  一、股权投资的投资逻辑与宏观思考

  (一)顶层架构下的股权投资透视

  (二)宏观政策对投资逻辑的影响

  (三)硬科技赛道投资与并购的机会与投资逻辑

  (四)科创债发力背景下对股权投资的影响

  (五)并购新政对私募股权投资和项目退出的影响

  (六)国资运用产业基金形式进行投资的优劣势分析

  二、股权投资的【业务研判筛选】实操与案例

  (一)业务风险判断实务及案例分析

  (二)技术风险的判断

  (三)盈利模式分析及案例解析

  (四)产业资本投资逻辑的不同关注点

  三、股权投资的【财务尽调和风控】实操与案例

  (一)财务尽调主要内容及风险要素分析

  (二)财务造假常见手法及案例分析

  (三)不合理关联交易的常见表现

  (四)大客户集中度风险及案例解析

  (五)内控可靠性分析及案例解析

  (六)投资与并购的财务关注差异点

  (七)其他

  四、股权投资的【法律尽调和风控】实操与案例

  (一)实际控制人认定及影响

  (二)股权结构问题

  (三)公司治理的常见问题

  (四)资产构成及独立性要求

  (五)合法合规性

  (六)同业竞争的认定与解决及案例解析

  (七)方面舆情和重大争议风险

  (八)其他

  五、股权投资的【交易结构设计/估值/风险缓释措施设计】实务与案例

  (一)交易结构设计

  (二)估值方法选择与估值风险

  (三)估值谈判与交易价格

  (四)几种风险缓释措施设计

  六、股权投资【协议关键条款设计/实施】实务与案例

  (一)不同新规下投资协议关键条款设计

  (二)股东协议与章程的冲突与衔接实操

  (三)投资实施常见风险防范

  七、股权投资的【投后管理/赋能/风控】实操与案例

  (一)投后管理目标与常见方式

  (二)日常管理主要内容

  (三)投后风险监测预警与应对措施

  (四)不同发展阶段的赋能点

  (五)产业资本赋能生态建设与实践

  八、股权投资的【退出策略和处置】实操与案例

  (一)退出考量因素及退出目标

  (二)良性退出的策略与要点解析

  (三)不同退出路径综合比较分析及选择

  (四)IPO退出的优势和限制性因素

  (五)并购难点及机会

  (六)协议转让的选择时机

  (七)S基金交易的模式与典型案例

  (八)回购退出的苦恼与破局

  (九)退出风险处置思路和手段

  (十)退出方案及谈判要点

  九、答疑与交流

  报名方式:

  15001156573(电话微信同号)

  ▼

  戳下面的阅读原文,更有料!

上一篇:
2026年,值得期待的中国矿企十大投产矿山!
下一篇:
碧桂园(02007)因零息强制性可转换债券获转换而发行合计1.01亿股股份
Title