Title
您当前的位置: 首页 > > 文章详细
相伴成长,守护热爱,爱企查致敬每一位自在发光的她
发布时间:2026-03-10

  2026年的38 国际妇女节落下帷幕,但新时代女性始终以坚韧姿态、无畏勇气,在各自领域坚定前行、自在发光,书写着属于女性的时代华章。

  今年妇女节期间,爱企查以“相伴成长,守护热爱”为初心,向每一位女性致敬,并依托海量权威企业数据资源,精准高效的数据解析能力以及专业便捷的查询服务,陪伴女性掌握信息主动权,为女性筑牢前行底气,让每一个选择都有章可循、每一步前行都从容笃定。

  致敬敢想敢做的时代女性们

  董明珠:用匠心造实业

  在中国制造业崛起的浪潮中,董明珠的每一个关键抉择,都镌刻着女性实业家的坚守与战略魄力,更彰显着中国女性的责任与担当。

  36岁那年,她毅然辞掉稳定工作,孤身南下加入格力,从基层销售员做起,在男性主导的制造业赛道中逆势突围。面对行业价格战,她坚守初心,坚决以品质立品牌,拒绝短期利益的诱惑;遭遇国外技术垄断的困境,她力排众议,下定决心深耕自主研发,全力抢占全产业链核心科技高地;当行业纷纷追逐短期风口时,她锚定实体经济本源,持续向高端制造、新能源、芯片等领域深耕细作,奋力为中国智造争取全球话语权。三十余载深耕不辍,她的每一项决策,都推动格力从一家地方空调厂,稳步成长为全球家电与高端制造领域的龙头企业,用匠心诠释实业担当。

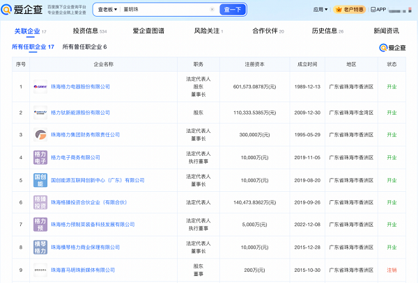
  爱企查App显示,董明珠名下关联数十家企业,涉及电器、新能源、投资等领域,其中超半数为开业状态,包括珠海格力电器股份有限公司、格力钛新能源股份有限公司等。在上述为开业状态的企业中,董明珠担任法定代表人、董事长、执行董事等职务。

  邵艺辉:将觉醒作为故事的起点

  2022年,邵艺辉凭借自己执导的首部长片《爱情神话》获得第35届中国电影金鸡奖最佳编剧和中国电影导演协会奖年度导演。两年后,她再携新作《好东西》入围第38届中国电影金鸡奖最佳编剧、最佳导演两项提名,用实力证明了女性创作者的无限可能。

  从《爱情神话》到《好东西》,她始终坚持以女性为本位创作,用真诚与包容拆解性别议题,鼓励女性勇敢追求真正的自由。在她的镜头里,女性不必被标签定义,也让更多人看见女性内心的觉醒与追求。

  爱企查App显示,邵艺辉全资持股上海红拂不复还文化传媒有限公司1家企业,并担任该公司的法定代表人、股东、董事。作品著作权显示,该公司已为《好东西》、《爱情神话》登记著作权,作品类别为文字。

  辛芷蕾:以演技打破偏见

  “野心不可耻,不敢直面渴望才可惜”,这句话不仅是辛芷蕾的人生态度,更是她演艺之路的生动写照。

  入行之初,辛芷蕾便做出了自己的职业决定:不迎合流量人设,不放弃对核心角色的争取,不停止对演技的打磨。这份执着与坚守,让她凭《繁花》李李一角出圈,更凭借《日挂中天》成为首位斩获威尼斯电影节最佳女演员的中国内地女演员,用实力打破了行业对女性演员的年龄桎梏与角色偏见。从话剧舞台到国际领奖台,她的每一次职业选择,都践行着“不被标签定义,只为热爱前行”的核心决定。

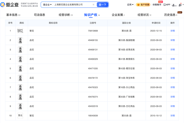
  爱企查App显示,辛芷蕾经纪公司——上海繁花里企业发展有限公司成立于2018年8月,注册资本1000万元,知识产权信息显示,其作为电视剧《繁花》的出品方之一,目前已申请注册繁花商标。

  徐梦桃:以韧为翼续写辉煌

  2026米兰冬奥会的自由式滑雪女子空中技巧决赛中,徐梦桃成功卫冕,成为冬奥会历史上首位在该项目上实现卫冕的运动员。她用行动告诉全世界,“35岁的女性,依然有无限可能。”

  五战冬奥,历经伤病与挫折,徐梦桃的逐梦之路布满荆棘。她从未放弃站上最高领奖台的决心,面对年龄、伤病与质疑,她从不被定义,始终勇敢突破,用热爱与行动激励无数女孩迎难而上、勇敢追梦。

  爱企查App显示,徐梦桃关联企业——北京梦桃文化传播有限公司成立于2022年10月,注册资本500万元,经营范围含组织文化艺术交流、体育赛事策划、广告发布等。知识产权信息显示,该公司已申请包括“徐梦桃”在内等53项商标。

  爱企查以专业之力,陪伴女性掌握信息主动权

  爱企查作为企业信息查询优选平台,依托百度先进的大数据和AI查询技术,能够满足用户对于商业信息获取专业化、精准化以及高效化的多元需求,目前已收录超3.26亿社会实体数据,能够快捷查询70余种企业信息,成为超5亿用户信赖的选择。

  在妇女节期间,爱企查也送上专属福利:面向新用户推出“7天免费SVIP试用”活动,让更多用户体验专业的企业信息查询服务;同时抖音【爱企查官方旗舰店】上线「开工季×妇女节」双节专属优惠,以实在福利与专业权威功能,守护每一位用户的职场之路。

  无论是创业布局、商业合作中的风险把控,还是职业发展、人生规划里的关键抉择,爱企查都将以专业之力,清晰呈现决策背后的核心信息,为每一位女性用户的选择保驾护航,陪伴她们在热爱的道路上,从容前行、绽放光芒。(咸宁新闻网)

上一篇:
承压之下逆势向好,华夏银行凭什么实现韧性突围?
下一篇:
全国人大代表童明全:发挥钠电储能优势 推进产业化降低成本
Title