Title
您当前的位置: 首页 > > 文章详细
创维集团旗下电冰箱产品抽检不合格,创始人黄宏生怎么看?
发布时间:2026-01-29

  乐居财经李兰据上海市市场监督管理局,近期,上海市市场监督管理局对上海市流通领域的家用电冰箱进行了能效标识产品计量监督抽查。本次抽查了20批次产品,经检验,2批次不合格。

  其中,标称“创维电器股份有限公司”生产的冷藏冷冻箱(标称规格型号:BCD-170D)产品抽检不合格,不合格项目为总容积。标称商标为“创维”。

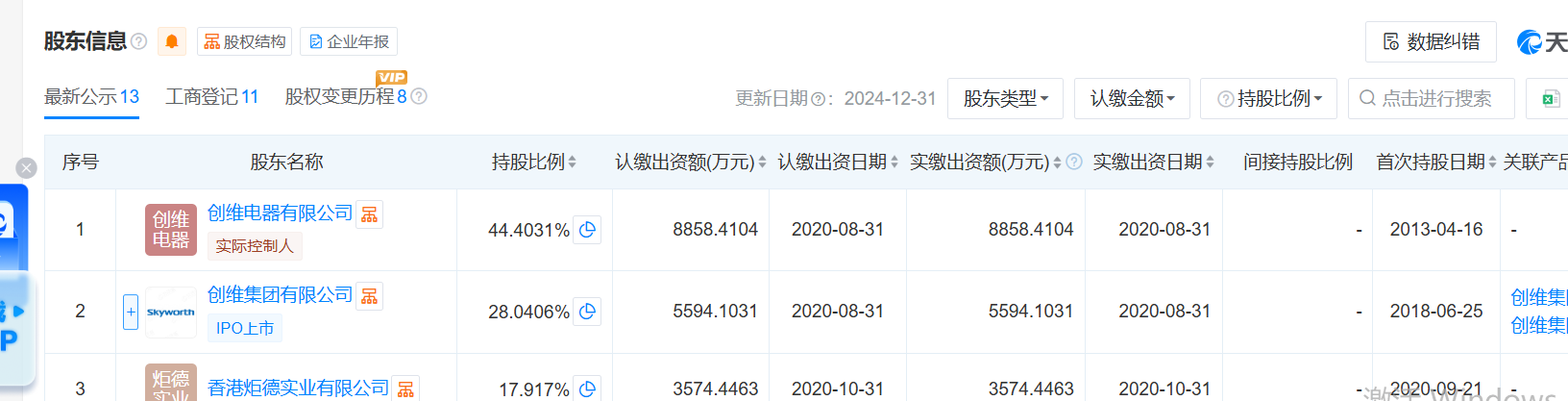
  天眼查显示,创维电器股份有限公司成立于2013年6月,注册资本为3亿元,法定代表人

  吴启楠,经营范围含家用电器产品的研发、生产,销售自产产品及提供相关技术服务等。该公司由创维电器有限公司持股44.4%、创维集团有限公司持股28%。

  公开资料显示,创维集团有限公司成立于1988年,集团旗下有创维集团(HK.00751)和创维数字(SZ.000810)两家上市公司。2024财年,创维集团总营业额为人民币650.13亿元。

  创维集团创始人及控股股东为黄宏生。黄宏生出生于1956年11月,1973年,黄宏生高中毕业后上山下乡,在四年半的下乡中,当选为海南优秀团干部,出任海南黎母山林场第三分场的负责人。

  1977年恢复高考,其以优异的成绩考入华南工学院(现更名为华南理工大学)无线电系学习。大学四年期间,被评为广东省高校三好学生标兵,其作为班长的50177(2)班被评为全国高校标兵班。

  1982年大学毕业后分配到电子工业部中国电子进出口总公司华南分公司,六年里,历任助理工程师、电脑事业部部长、副总经理、常务副总经理。

  1988年,黄宏生在国家外贸体制改革以及新兴民营企业的洪流下,下海创业,创办了创维集团,现主要从事智能家电业务、智能系统技术业务、新能源业务、现代服务业业务等四大业务。

上一篇:
基金1月28日参与23家公司的调研活动
下一篇:
苏州科技城发展集团2026首期中期票据发行规模3亿元
Title