Title
您当前的位置: 首页 > > 文章详细
震惊公募圈!债基单周暴跌7%,信用风险被击穿,这家公募已无基可管
发布时间:2026-01-25

  1月25日,公募圈罕见,一家公募基金创造多个历史:一是只管理一只基金;二是管理的债基在2025年竟然巨亏6.6%;三是,仅管理的该债基也要更换管理人,更换之后该公募将无基可管,市场猜测公募牌照或也难保!

  金石杂谈发现,1月24日,华宸未来基金发布多个公告,其中一条提到华宸未来稳健添利基金(债基)基金管理人发生变更,从华宸基金变更为头部公募的富国基金。从一家公募变更为另一家公募实为罕见。

  金石杂谈查询发现,华宸未来基金目前仅管理这一只债基,总规模只有0.43亿,23年尚有12.7亿,24年腰斩至6.43亿,如今惨烈到不足1亿。此前,1月13日,华宸未来管理的华宸未来价值因为规模只剩0.03亿而被清盘。

  金石杂谈查询发现,华宸未来基金成立于2013年,由华宸信托有限责任公司、韩国未来资产基金管理公司、咸阳长涛电子科技有限公司三家单位共同发起设立。

  管理一只产品,规模却缩水如此严重,核心还是业绩极差。根据wind数据,2025年巨亏6.6%,近三年亏损18%,近5年亏损14%,买了该基金的投资者只能用“上辈子造了太多的孽”的来解释了。

  金石杂谈查询公司近三年年报发现,2023年该基金基民人数高达2.5万人,且主要是个人投资者,持仓占比86.85%;2024年基民还剩1.8万人,个人投资者占比依然高达83%;25年中期基民还剩1.1万人,机构投资者全部走光。

  仅有的这只基金为何业绩如此惨烈?金石杂谈查询发现,2024年年报该基金60%都是国债和金融债,只有15%的企业债、企业短期融资券和中期票据;但是到了2025年中期,中期票据和企业短期融资券净值占比高达50%,三季度更是达到了64%左右。

  此前,有市场传闻,华宸未来稳健可能踩雷了万科债,而万科从去年开始就一直上演股债双杀,动不动20%、30%的跌幅会让重仓持有的债基泥足深陷。

  到了四季度,华宸未来稳健将企业债、企业短期融资、中期票据几乎全部清仓,全部换成了国债,但是其第四大持仓出现了龙湖地产债,龙湖债去年虽然稳健,但股价也是跌了不少。

  这从侧面反映,华宸未来极有可能杀入了万科等一众地产债,以搏低位抄底,不曾想信用风险被击穿,2025年巨额亏损,一周净值暴跌7%。彼时,华宸未来回应,该基金持有的个别债券受市场环境影响,发生较大幅度调整,从而传导至基金净值。

  现在的问题是,随着华宸未来无基金可管,是否会丢失这关键的公募牌照?金石杂谈认为,极有可能!当然,也有可能被其他机构接手华宸基金。

  一是管理能力属实太差;其次,业绩极差,2024年亏损2000万,25年再亏2000多万,仅四季度亏损了近1200万。

  三是,股权被挂牌转让。内蒙古股权交易中心披露信息显示,华宸信托拟挂牌转让所持华宸未来40%股权,对应8000万股出资额,挂牌底价1720万元,挂牌期自2025年11月24日起至12月19日止。若期满未征集到意向受让方,该项目将重新挂牌。

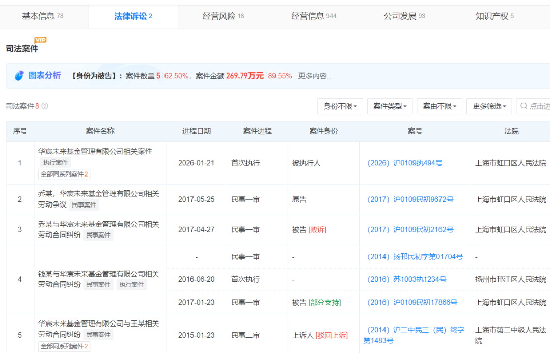
  四是,深陷司法纠纷,还被列为被执行人,被执行金额270万。

上一篇:
快递业成特色产业 降本增效“神助攻”
下一篇:
超盒算NB落子广东,沃尔玛防守局
Title