Title
您当前的位置: 首页 > > 文章详细
北银消金增资至10亿元落地,母行换帅会带来哪些影响?
发布时间:2026-01-23

  近日,信息显示,我国首家持牌消费金融公司——北银消费金融有限公司(下称“北银消金”)完成增资工商变更,注册资本由8.5亿元正式增至10亿元。

  整体上看,此次增资优化了股东持股结构,同时恰逢其第一大股东北京银行完成新老掌舵人交接,在消费金融行业竞争加剧的背景下,这场资本升级与治理团队的双重调整,既为老牌城商行及其消费金融板块注入新动能,也需警惕历史风险余波与行业共性挑战带来的经营压力。

  01

  增资之路波折不断

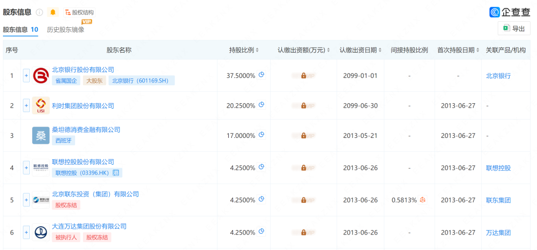
  作为北银消金的控股股东,北京银行此次同步提升持股比例。工商资料显示,增资后北京银行持股比例由35.29%升至37.5%,巩固了第一大股东地位;利时集团跃升为第二大股东,持股比例从15%大幅提升至20.25%;原第二大股东桑坦德消费金融有限公司持股比例降至17%;大连万达集团、北京联东投资集团、联想控股等7家原有股东持股比例均不同程度下降。

  持牌消金增资是政策要求的。《消费金融公司管理办法》将消费金融公司主要出资人持股比例要求由不低于30%提高至不低于50%。虽然并没有明确存量机构的增资时间结点,但从实际经验来看,提升主要出资人持股比例有利压实股东责任,增强股东参与公司经营意愿,更好发挥股东资源优势,促进股东积极发挥支持作用。从增资后的比例来看,北银消金的股东结构或有调整空间。

  回溯北银消金发展历程,其增资之路波折不断,且曾深陷风险漩涡。公司成立于2010年3月,由北京银行独资3亿元发起设立,成为国内消费金融行业“拓荒者”。2013年首次引入9家战略投资者,注册资本增至8.5亿元,形成多元化股东格局。2021年,北银消金曾获监管批准将注册资本增至10亿元,但因未在规定时限内完成法定变更手续,行政许可文件失效。此次增资落地,标志着公司历时四年的资本补充计划终获成功,资本实力增强将为业务扩张、风险抵御能力提升奠定基础。

  需要重点提示的是,北银消金曾因风控漏洞遭遇严重经营风险。2015年起,公司陷入大规模骗贷风波,彼时监管部门介入。之后元气大伤,在2018年左右消金迅猛增长的黄金期表现得有些低调。

  不过从经营数据看,资本实力提升正逐步转化为业绩改善。财务数据显示,北银消金近年来业绩稳步增长,2024年末净利润达1.53亿元,在29家已披露数据的消费金融公司中位列第19名;总资产规模达141.7亿元,在30家同业机构中排名第21位。2025年增长势头加快,上半年实现净利润1.02亿元,同比增幅高达50%;截至6月末,总资产规模攀升至154.21亿元,较年初增长8.83%,盈利能力与资产规模双提升。

  业务层面,北银消金构建了覆盖多元场景的产品体系,官网显示核心产品包括“轻松付”和“轻松贷”两大系列:“轻松付”聚焦教育、装修、租房、旅游、车险等高频消费场景,提供场景化分期服务;“轻松贷”针对不同客群细分推出居易贷、宅抵贷、尊享时贷等产品,满足个人综合消费资金需求。

  这样的产品结构,正与北京银行形成业务协同。但场景化消费金融赛道竞争白热化,头部机构凭借流量优势、技术能力抢占优质场景与客群。未来北银消金若无法形成差异化竞争优势,可能面临客户流失与市场份额被挤压的风险。

  02

  规模效应与协同效应有待释放

  值得关注的是,北银消金增资落地恰逢控股股东北京银行重大人事调整。1月20日,北京银行召开会议,任命关文杰为公司党委书记,按行业惯例,待履行相关程序后其将出任董事长,执掌这家资产规模接近4.9万亿元的老牌城商行。

  公开简历显示,关文杰拥有丰富金融从业与管理经验,早年任职于建设银行青岛市分行,后加入华夏银行,历任多项重要职务,2024年调任北京农商银行党委书记、董事长,期间重点推动数字化转型,重视消费数字金融与产业数字金融协同发展。

  人事调整前,北京银行原董事长霍学文执掌公司三年,提出“二次创业”战略,推动银行向数字化、场景化转型,任期内北京银行个人消费贷业务快速增长,2022年末至2024年末余额从1343.01亿元增至2067.57亿元,2025年6月末再增28.79亿元,持续为北银消金赋能。

  但作为“城商行一哥”,北京银行近年面临行业竞争加剧与自身经营压力,营收增速自2020年起明显放缓,2022年近乎停滞,2023年增长0.66%,2024年回升至4.81%,核心经营指标已被江苏银行反超。2025年前三季度财报显示,北京银行实现营收515.88亿元,同比下降1.08%;归母净利润210.64亿元,同比增长0.26%。母公司经营压力可能传导至北银消金,其获得的资金支持、资源倾斜力度或受制约,这是北银消金后续发展需面对的潜在风险。

  不过,北银消金当前更应该做的是深化协同。2024年10月北京银行公告拟授予北银消金100亿元同业机构综合授信额度,其中包含70亿元流动性支持专项额度,有效期1年;2025年半年报中,北京银行明确“消金突围,场景生态加速拓展”战略方向,强调“通过与北银消费合作,深化集团业务联动”,同时布局互联网助贷业务。

  对新任掌舵人关文杰而言,推动北银消金高质量发展需平衡扩张与风控。当前消费金融行业集中度持续提升,头部机构凭借资本、场景、技术优势抢占市场份额,北银消金虽为行业元老,但净利润、总资产排名仍处中游,增资后的规模效应与协同效应有待释放。

  更关键的是,其需彻底修复风控体系,杜绝历史违规问题重演,同时应对行业共性挑战:

  一是监管政策趋严,消费金融公司在利率定价、客户资质审核、信息披露等方面的合规要求不断提高,违规成本持续上升;

  二是信用风险抬头,经济恢复进程中部分客群还款能力承压,可能推高行业整体不良率;

  三是获客成本高企,流量竞争加剧导致营销费用攀升,挤压盈利空间。

  业内人士还是看好北银消金的前景的。当前助贷新规之下,小贷及助贷业务收缩明显,加之民营银行跨区域展业受限,持牌消金公司牌照优势明显,2026年将迎来发展新机遇。若北京银行人事调整与北银消金增资落地形成共振,有望从治理结构、资本实力、战略布局三方面推动消费金融业务升级——关文杰主导的数字化转型与产业金融经验,或帮助北银消金深化场景融合,拓展新兴领域;北京银行的客户流量与助贷渠道,将为其提供业务支撑;10亿元注册资本带来的资本充足率提升,将增强其合规与风险抵御能力。

  展望未来,在政策组合拳之下,消费金融行业进入高质量发展阶段。而行业的背面是不良率的潜在威胁与阴影。此次北银消金资本与治理的双重变革,能否实现良性发展,既取决于战略执行力度,更取决于风险管控的成效。值得行业期待。

上一篇:
56亿分红背后:格力电器的“守城”与“突围”
下一篇:
沃客非凡港股IPO:4万个分销商年均销售额仅1.75万元 大客户集中度畸低 销售费用率逐年增长研发费用率却降低
Title