Title
您当前的位置: 首页 > > 文章详细
天府银行:未披露第三支柱信息涉违规,多个贷款大客户成被执行人
发布时间:2026-01-16

  作为四川规模第三的城商行,四川天府银行的资产规模虽然依旧在增长,在2024年达到了2599.68亿元,业绩却在持续下滑。2024年,天府银行的主营业务收入已经降至23.99亿元,净利润更是跌至3.34亿元,相比巅峰时期2015年的23.5亿元,已经累计缩水85%。

  在业绩持续下滑的背景下,天府银行于2024年引入蜀道集团等13家国企,总股本由10.01亿股增加至18.78亿股。随着50亿元增资扩股工作的完成,天府银行的抗风险能力和综合实力得到增强,但是面临的困境依旧不小。

  伴随着业绩的下滑,天府银行一系列合规问题和风险开始暴露:第三支柱信息披露缺位、多个股东沦为被执行人或股权被冻结、多个贷款大客户成为被执行人。这一系列问题的出现,不仅说明天府银行内部治理存在严重缺陷,还反映出贷款存在一定风险。

  未披露第三支柱信息,监管要求沦为空文

  信息披露是商业银行接受市场监督的核心环节,而第三支柱信息披露作为资本监管框架的重要组成部分,更是保障市场纪律有效发挥作用的关键。

  《商业银行资本管理办法》第九章明确要求,商业银行应通过公开渠道向投资者和社会公众披露第三支柱相关信息。此举可以让市场参与者全面掌握银行的风险状况与资本实力,形成有效的外部约束。

  《办法》强调,披露内容至少应包括风险管理、关键审慎监管指标、资本构成、杠杆率等核心信息,且需遵循临时、季度、半年及年度的定期披露频率。

  不过,对于这个监管要求,天府银行似乎并没有执行。作者通过查看天府银行官网发现,在“信息披露”板块,只有年度报告、高层人事变动、关联交易等重大事项的公告,但是并无第三支柱信息。

  截至2025年末,在“天府公告”板块,同样没有第三支柱信息,只有银行相关业务和采购等事宜的公告。在其他板块,同样没有找到第三支柱信息。这说明天府银行完全未按照监管规定,定期公开风险管理、资本充足率、流动性风险等关键审慎信息。

  多个股东暴露风险,成为被执行人或股权被冻结

  根据2024年年报,在增资扩股工作完成后,天府银行的股权结构发生了巨大变化,国有股东持股占比从2023年末的17.37%提升至55.96%。前十大股东合计持股比例67.34%,其中蜀道投资集团有限责任公司持股23.35%成为最大股东,原最大股东南充市国有资产投资经营有限责任公司持股比例保持不变,但是以10%的持股比例变成了第二大股东。

  天府银行的第三大股东是四川明宇集团有限公司,持股比例从2023年的9.98%降至5.32%。2025年8月5日,四川明宇集团新增一条被执行信息,被执行金额为3600万元。

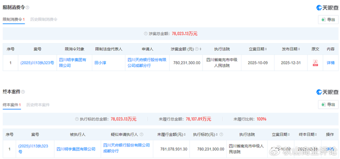
  另据2025年12月31日发布的消息,四川明宇集团因未按执行通知书指定的期间履行生效法律文书确定的给付义务,被限制消费。值得一提的是,四川明宇集团的母公司南充市恒盛商贸有限公司也牵涉其中,同样被限制消费,该案涉案总金额高达7.8亿元。

  明宇集团所持的9994万元天府银行股权,也在2025年10月27日被冻结。这并非明宇集团首次被冻结所持天府银行股权,早在2024年12月23日,6.43亿元股权被冻结;2025年3月28日,3883.33万元股权被冻结。也就是说,明宇集团被冻结的天府银行股权达到了7.82亿元。

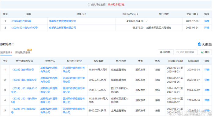
  除了明宇集团,天府银行的第六大股东成都枫之林贸易有限公司同样是被执行人。持有天府银行5.27%股权的成都枫之林贸易,在2025年6月24日和12月23日增加两条被执行信息,被执行金额分别为68979元和4.91亿元。早在2024年3月27日,成都枫之林贸易就被限制消费。

  另外,从2023年8月1日到2025年6月4日,成都枫之林贸易先后5次被冻结所持天府银行股权,分别是9900万元、1122.68万元、9900万元、9900万元和1.82亿元,共计约4.9亿元。

  不止于此,持有天府银行2.66%股权的第十大股东四川永伦实业有限责任公司,在2025年4月25日被冻结所持4990万元的天府银行股权。

  毫无疑问,前十大股东当中有三个成为被执行人或股权被冻结,对天府银行的稳定运营是不小的挑战。

  多个贷款大客户成被执行人,推高贷款风险

  贷款业务作为银行的核心资产和主要利润来源,意义不言自明,所以各大银行会采取各种措施增加贷款。保证贷款的安全性也是银行的一大课题,如果贷款放出去却收不回来,造成的负面影响可想而知。

  而天府银行目前正面临这一难题,不仅不良贷款率在2024年末高达2.1%,还有多个贷款大客户成为了被执行人,这就使得贷款的风险被进一步推高。

  2024年年报显示,截至报告期末,攀枝花天禄环保科技有限公司为天府银行第四大贷款客户,贷款余额近8亿元。该公司在2025年10月29日新增一条被执行信息,被执行金额为2.65万元。

  天府银行第七大贷款客户成都炜腾投资有限公司则是在2024年7月成为被执行人,执行标的20.53万元,未履行总金额为12.65万元。该公司在天府银行的贷款余额为7.7亿元。

  相比这两家公司,天府银行的第八大贷款客户贵州铭丰瑞贸易有限公司被执行金额要大得多,达到了7.8亿元,而且被限制消费,他们与四川明宇集团和南充市恒盛商贸有限公司属于同一案,案号都是(2025)川13执323号。该公司在天府银行的贷款余额为7.56亿元。

  作为天府银行第九大贷款客户的明宇实业集团吉林房地产开发有限公司,贷款余额为7.5亿元,他们在2025年11月6日新增一条被执行信息,执行标的为10.01亿元。

  前十大贷款客户里面有4个成为被执行人,这对天府银行来说自然不是好消息,如何化解潜在风险,是一道必答题。

上一篇:
协鑫能科中山储能项目入选中电联创新与应用典型案例
下一篇:
省审计厅召开数智化审计平台建设研讨会加速推进内部审计数智化转型
Title