Title
您当前的位置: 首页 > > 文章详细
440亿,国家队集体注资中国商飞
发布时间:2025-11-25

  近日,国产大飞机C919的制造商中国商用飞机有限责任公司发生工商变更,注册资本由501.01亿元增至940.98亿元,增幅约88%。

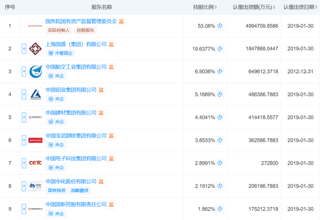
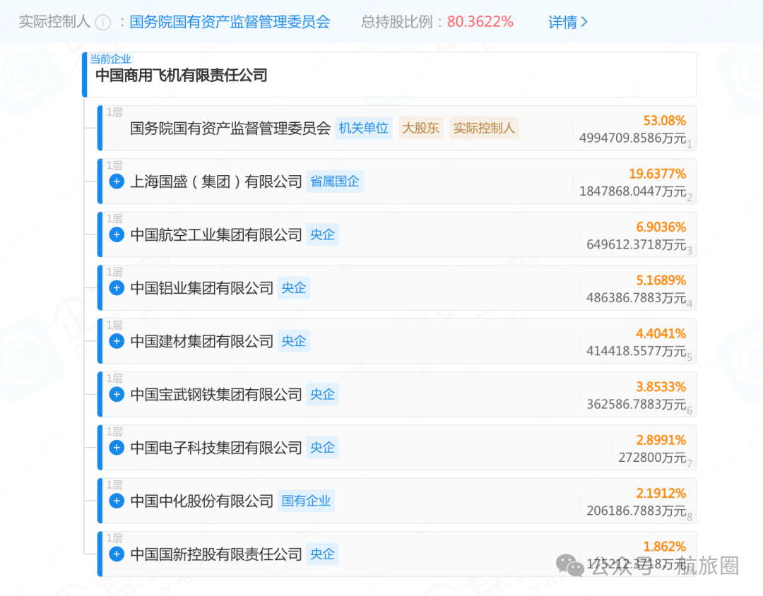
  中国商飞公司成立于2008年3月,最初注册资本为190亿元。目前其股东包括国务院国资委以及8家国央企。

  此次增资除中化股份1家未对中国商飞进行增资外,其余8家股东均对商飞进行了不同程度的增资。其中,国资委增资金额最高,达到249.97亿元,国资委在此次增资后,其在中国商飞的持股比例也由49.8%提升至53.08%。

  中国电子科技集团有限公司、中国铝业集团有限公司、中国建材集团有限公司这3家股东的持股比例也有所提高。

  中国国新控股有限责任公司、中国中化股份有限公司、中国航空工业集团有限公司、中国宝武钢铁集团有限公司、上海国盛(集团)有限公司这5家股东的持股比例有所下降。

  根据中国商飞此前在2023年披露的一份半年报,截至2023年上半年,中国商飞资产负债率约63.29%。

  在迪拜航展期间商飞透露了三款飞机的最新情况:

  C909飞机载客78-97座,航程2225-3700公里,具有良好的短窄跑道、高温、高原等机场起降性能和抗侧风能力,已向国内外客户交付170余架,开通790余条航线,并已在东南亚地区投入航线运营。

  C919飞机载客158-192座,航程4075-5555公里,已交付26架,开通30余条航线。

  C929飞机航程约12000公里,基本型座级为280座,研制工作正在稳步推进。

  航班管家数据显示,10月运营中国商飞国产飞机航司共12家,其中客运航司10家、货运航司2家;国内航司9家,国外航司3家,分别为印尼、老挝、越南,其中,翎亚航空运营5架、越捷航空运营2架、老挝航空运营2架C909。

  而对于国产飞机来说,除了参加国际航展外,目前做好自己的分内事更重要,中国商飞今年也在为C919的产能放量“摩拳擦掌”。

  在3月中国商飞召开的供应商大会,曾披露2025-2029年的C919产能五年规划,2025年产能从原计划50架/年提升至75架/年,2026年产能为100架,2027年和2028年的产能均为150架,至2029年产能目标为200架/年。【注:产能仅为生产能力,非实际生产交付计划】

  特别推荐##【航空器材购销交流群】,微信:yszst007

  #特别推荐

  《民航发动机维修成本(精读)》

  《飞机退役拆解处置攻略》

  《Green time 发动机的钱途》

  #特别推荐

  点击课题名称链接,

  查看详细提纲内容。

序号课程名称计划时间费用 (元)预订地点
1《飞机&发动机拆解项目及其零部件管理》07月16-18日4980昆明
2《民航维修工具设备使用管理》08月02-03日3800昆明
3《航材分销商认证及航材基础速成班》08月14-15日3800广州
4《飞机&发动机租赁退租技术》08月21-22日3800上海
5《民用航空器维修方案的制定与管理》09月18-19日3800广州
6《航材管理高级培训研讨班》09月24-26日4200广州
7《航材验收和航材库房管理》10月16-17日4980广州
8《民用航空器MMEL/MEL制定和管理》10月22-24日4200广州
9《静电防护在航空业中的应用》10月27-28日4980广州
10《民航发动机工程基础及文件记录管理》10月30-31日3800珠海
11《CCAR-147部许可培训机构筹建和运行》11月06-07日3980上海
12《计量管理在航空领域的应用》11月10-11日4980广州
13《航空企业内审员审核技能提升》11月17-18日4980广州
14《飞机&发动机拆解项目及其零部件管理》11月19-21日4980上海
15《危险品操作与库房管理》11月27-28日4980广州
16《航材PMA/CTSOA件申请实务及应用》12月04-05日3800广州
17《二手航材、履历记录及适航标签应用》12月11-12日3800成都
18《适航法规基础知识培训研讨班》12月15-16日3800广州
19《民用航空器维修可靠性管理高级培训班》12月17-19日4200广州
20《航企质量审核高级培训研讨班》客户化预约4200广州
21《飞机大修MRO生产计划与控制PPC管理》客户化预约4200上海

  ---> 540份航空电子读物/资料/素材

  链接:涡轮叶片

  《个人航空维修汇编》航空维修汇编读本订阅

  大量网课回放请看“阅读原文”

上一篇:
美元债异动|中广核CHGDNU 4.8 09/11/48价格上涨3.301%,报96.333
下一篇:
投资者再聚中集来福士 共鉴海工板块战略转型与增长新动能
Title