Title
您当前的位置: 首页 > > 文章详细
业绩滑坡、明星流失,招商基金陷入“规模缩、信心减”怪圈?
发布时间:2025-10-24

  过去几个月,招商基金经历了一轮明显的调整。

  自今年5月钟文岳回归出任总经理后,公司管理层频频换血:从朱红裕、王景、陈方元升任首席(副总经理级),到于立勇、谭智勇相继出任副总经理,再到9月底钟文岳暂代董事长,招商基金迎来了新的掌舵者。

  此前,在王小青任内,招商基金曾实现公募及非货币管理规模的翻倍增长。然而,当接力棒交到钟文岳手中,他所面临的已不仅是延续增长的任务,更是重建信心与格局的挑战。眼下,公司业绩压力显著——尽管A股行情火热,但多位基金经理仍因产品亏损向持有人致歉,投资端承压的现实由此显现。

  

  招商基金高管变动,来源:招商基金官网

  固收板块同样遭遇考验,“固收一哥”马龙的离任导致招商基金债券基金类规模连续下滑。明星基金经理的出走,不只是公司人事层面的变动,更可能引发市场信心的连锁反应。昔日招商基金稳固的护城河,正出现肉眼可见的裂痕。

  调整之下:

  招商基金的权力重排与战略再平衡

  2025年以来,招商基金的人事调整密度创下近年来新高,而这或与公司业绩持续承压密切相关。数据显示,2022年至2024年,公司净利润连续三年下滑,从18.13亿元降至16.5亿元,累计下降近9%;2025年上半年更是跌破8亿元,同比下降6.8%。此外,截至6月末,资管业务规模降至1.54万亿元,较年初减少1.91%。规模增长乏力、业绩低迷,使管理层调整成为必然。

  

  部分基金公司财务数据,来源:各公司2024年财报

  业内普遍认为,钟文岳的“双重角色”——兼任总经理与代董事长这一安排多为短期过渡,但在招商基金,这一人事布局具有更深层的集团协同考量。钟文岳在招商基金任职多年,熟悉公司内部结构;而他在招银理财的两年间,主导了理财产品线精简与核心产品打造,积累了丰富的净值化管理与零售客户运营经验。

  集团层面上,据招商银行财报,旗下四家资管子公司2025年上半年总规模4.45万亿元,较年初微降0.51%。其中,招银理财理财产品余额2.46万亿元,较上年末下降0.4%;招商基金的资管业务规模1.54万亿元,较上年末下降1.91% ;招商信诺资管的资管业务规模3053.13亿元,较上年末下降0.12%;招银国际的资管业务规模1479.66亿元,较上年末增长13.53%。招商基金与招银理财两者均遭遇盈利下滑。前者净利润连续下滑三年,后者利润则从2022年的35.93亿元降至2024年的27.4亿元。

  在此背景下,钟文岳的回归,或为了打通两家机构在渠道共享、客户分层、净值型产品转型等领域的协同。但截至目前,集团尚未公布具体的协同方案,两家机构的业务重叠仍集中于低风险产品领域,协同效应尚未显现。

  

  招商银行旗下四家资管子公司规模

  来源:招商银行2025年上半年财报

  从新任命的高管分工来看,招商基金的管理架构正逐步清晰。朱红裕与王景升任后,负责权益投资与研究体系建设。朱红裕侧重主动权益策略,而王景兼顾组合管理与团队协作。尽管王景2021年至今仍在管理的4只基金中有2只亏损超过20%,所有管理基金中,最高亏损38.55%,但公司仍看重其在行业研究与团队管理方面的积累。

  陈方元则负责机构业务拓展,目标是提升机构资金占比。于立勇与谭智勇分别负责产品设计发行和风险控制管理,两人均具备丰富的业务与运营经验,意在完善产品线布局与风控体系。整体上,这一团队的构成体现了“战略统筹+执行分工”的管理思路:钟文岳负责战略方向与资源整合,五位副手分管关键业务条线,共同推动公司转型。

  

  王景管理的部分基金,来源:天天基金

  盈利承压与产品重塑:

  招商基金的结构性阵痛

  2025年以来,招商基金正经历一场由“人事震荡”与“结构调整”叠加而成的深层波动。核心投研团队频繁变动、产品结构主动收缩、盈利能力持续承压,成为这家老牌基金公司面临的三大挑战。

  自2024年下半年起,招商基金启动系统性产品结构优化,清理了12只规模不足5000万元的小微基金,并暂停主动权益类新品发行,将重心逐步转向债券型与指数型产品。到了2025年上半年,新发债券基金规模达到180亿元,占新发总量的62%;与此同时,货币基金占比也由2024年底的62%上升至64%,非货币类规模进一步萎缩。

  这一结构调整虽然在一定程度上强化了风险控制,却也削弱了公司的营收增长动能。由于货币基金管理费率通常仅为0.33%,远低于权益基金的1.5%,产品结构的“稳健化”在事实上压缩了招商基金的盈利弹性。财务数据印证了这一变化:2022年至2024年,公司营业收入从57.57亿元降至53.08亿元,2025年上半年仅微增1.17%;同期平均管理费率约为0.68%,低于行业平均水平的0.75%。可以看出,招商基金在追求稳健的同时,也陷入了“保规模易,提收益难”的增长困境。

  横向来看,招商基金的盈利能力差距在行业中进一步凸显。2025年上半年,易方达基金实现净利润18.77亿元,同比增长23.84%;广发基金为11.80亿元,同比增长43.54%;而招商基金仅录得7.89亿元,较上年同期有所下降,在“新十家”基金公司中排名倒数第二,仅略高于博时基金。造成这一差距的根源在于产品结构失衡——招商基金的债券基金占非货币基金规模约40%,而权益类基金占比仅25%。由于权益基金的管理费率通常是债券基金的3至4倍,这种结构性偏好直接压制了公司的盈利水平。

  从具体财务表现来看,招商基金公募基金板块在2025 年上半年(截至6月30日)实现总收入112.41亿元,收入结构呈现出明显的“投资驱动”特征——上半年投资收益达96.3亿元,占总收入比重接近九成,既是业绩的核心支撑,也反映出公司盈利模式对市场性回报的依赖度较高。

  进一步拆解投资收益结构可见,债券投资以73.71亿元的收益规模成为绝对主力,而股票投资收益仅录得390万元。尽管权益投资收益较上期亏损状态已有改善,但微薄的盈利规模仍凸显出“固收占主导、权益偏弱”的结构性失衡问题:这意味着公司在债券市场环境向好时,能够依托固收业务获得相对稳定的收益,但在权益市场进入回暖周期时,却难以充分把握行情红利,业绩弹性受到明显制约。

  

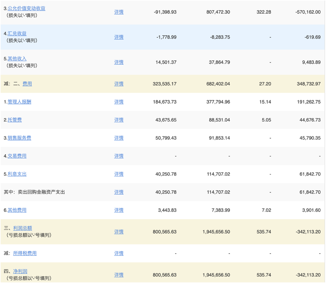
  招商基金财务数据,来源:天天基金

  值得关注的是,与投资收益形成补充的公允价值变动收益虽仍为负值(-9.14亿元),但较去年同期-57亿元的亏损规模显著收窄47.86亿元。这一数据变化直观反映出,公司持仓资产的估值调整对利润的冲击已明显减弱,投资端业绩的波动幅度正在收窄,一定程度上体现出资产估值压力的边际缓解。

  在收入端呈现结构性特征的同时,费用端的压力依然不容忽视。本期公司费用总额为32.35亿元,虽较去年同期的34.87亿元略有下降,但在收入同比回落的背景下,费用率仍处于偏高水平。

  从成本结构来看,管理人报酬以18.47亿元占总费用的57%,为最大支出项;托管费(4.37亿元)与销售服务费(5.08亿元)合计占比超三成,两类支出均属于相对刚性的固定成本,反映出公司成本结构中固定支出占比依然较高,成本管控的弹性空间有限。此外,本期利息支出达4.03亿元,主要来源于卖出回购金融资产支出,这一数据表明公司仍存在一定规模的融资操作,而在当前收益回落周期中,这部分资金成本进一步对利润形成了侵蚀。

  从整体利润表现来看,招商基金本期实现利润总额与净利润均为80.06亿元,较去年同期大幅回升,但结合前述财务数据不难发现,公司利润的起伏与投资端表现高度绑定:投资收益的增减、公允价值变动的盈亏直接决定了利润规模,使得业绩呈现出典型的“周期依赖型”特征——市场行情向好时,盈利规模能快速放大;市场出现波动时,盈利则随之快速收缩,整体盈利稳定性仍有待进一步提升。

  

  招商基金财务数据,来源:天天基金

  投研流失与能力修复:

  核心竞争力的重建之战

  同时,支撑业绩长期增长的“内核”——投研体系,也面临不小的挑战。过去一年,招商基金的内部调整频繁,人员流动加剧,投研团队经历了前所未有的“失血期”。包括多位核心基金经理与部门负责人在内的离职潮,不仅削弱了公司的投研稳定性,也对外部市场信心造成一定影响。

  2024年至2025年期间,招商基金共有8位基金经理离职,部分代表性基金经理的产品在新接任者手中业绩波动明显,部分原本规模百亿的混合基金在半年内缩水近两成。团队动荡的连锁效应还体现在新品发行上——2025年上半年公司仅新发15只基金,较上年同期减少8只,其中主动权益类产品仅3只,且发行规模均不足10亿元。

  除了人员流失,公司内部还存在基金经理“一拖多”与新人断层问题。截至2025年上半年,侯昊独立管理三十余只基金,总规模超过554亿元,覆盖招商中证白酒、TMT50ETF等核心产品;王平管理50只基金,滕越等等人亦各自管理数十只以上产品,涉及多资产与多策略配置。高负载管理使得业绩差距拉大——侯昊管理的招商国证生物医药指数C任期回报为-60.86%,在同类产品中处于末位,但也有收益超过一倍的招商中证白酒指数A。

  

  侯昊管理的部分基金,来源:天天基金

  新人断层则进一步加剧不平衡。自2024年以来,公司新任命12位基金经理,其中8人任职不足两年。部分新人此前仅担任研究员或助理基金经理,却需独立管理数只产品。数据显示,这批新任经理管理基金的平均净值波动率达2.3%,较资深经理高出0.9个百分点,风险控制经验明显不足。

  面对投研能力削弱与团队断层,招商基金管理层自2025年5月起启动组织重构,设立三位首席——朱红裕、王景、陈方元——分别统筹权益投资、研究体系与机构业务,明确“强化投研力与机构客户力”两大方向。此举旨在打通投研与销售之间的信息壁垒。此前,招商基金机构客户管理费收入占比仅35%,低于行业平均水平的45%,结构单一限制了盈利来源。

  在人才策略上,公司推出“内部培养+外部引进”双轨机制:一方面,从研究部门内部选拔10位资深研究员担任基金经理助理,设立3至5年的培养周期;另一方面,外部引入5位拥有五年以上经验的基金经理,以快速补强权益端短板。同时,绩效考核体系调整为“长期业绩导向”,将三年以上业绩权重从30%提升至50%,以弱化短期波动对考核的影响,增强团队预期稳定性。

  尽管改革方向清晰,但短期效果有限。2025年上半年,公司权益类基金整体仍亏损约12亿元,机构客户流失率达8%。薪酬体系改革尚未完全落地,激励机制与内部晋升路径仍待打通。招商基金要想真正重建核心竞争力,关键在于从“明星驱动”转向“体系驱动”,从“产品扩张”转向“能力修复”。

  回望当前格局,招商基金正处于深层重塑的转折点:一方面,它试图通过产品结构优化降低风险;另一方面,又需通过团队与机制改革重建增长引擎。结构调整是表象,投研修复是根本。唯有在体系化能力上完成自我修复,这家老牌基金公司才能在新一轮资管竞争中找回节奏,重新赢得市场与投资者的信任。

上一篇:
小米 REDMI 产品经理笋寸称无法改变全球供应链走势,存储成本上涨还会持续加剧
下一篇:
钱斌警示金融AI风险:人要成为人工智能的主导者
Title