Title
您当前的位置: 首页 > 百强动态 > 文章详细
民生银行:近6年营收利润减少数百亿,高迎欣薪酬却高居股份行第二
发布时间:2026-04-20

  作为国内股份制商业银行的重要成员,民生银行近年来该行经营状况持续承压,诸多核心经营指标表现疲软。2025年虽然营收重回增长,净利润却依旧处于下滑状态。

  更为不利的是,自2025年第二季度开始,民生银行的贷款规模就不断缩水,已经持续了三个季度。此外,民生银行的不良率重新抬头并位居股份行前列,拨备覆盖率则是排在股份行最后一位,而且损失类贷款持续大幅上涨,发展陷入多重困境。与之相对应的是,民生银行董事长高迎欣的薪酬,却高居股份行高管第二位。

  贷款规模持续下降三个季度减少900亿,资产总额也开始缩水

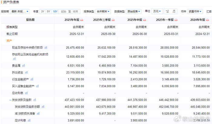
  信贷业务是商业银行的核心盈利支柱,存贷款规模的稳定增长是银行健康发展的基础。然而,民生银行自2025年第一季度之后,存贷款规模一度呈现出双双下滑态势。

  数据显示,2025年一季度末,民生银行的存款总额为4.36万亿元,此后连续两个季度下滑,到第三季度末降至4.26万亿元,好在第四季度末反弹至4.28万亿元。

  过去这几年,民生银行的存款规模一直不太稳定,经常出现单季或者连续两个季度缩水的情况。存款总额一度从2023年末的4.28万亿元,降至2024末的4.25万亿元。若不是第四季度有所反弹,存款总额在2025年末可能会继续缩水。

  与存款规模稍有不同的是,民生银行的贷款规模从2025年第二季度开始,已经连续缩水三个季度。第一季度末,贷款规模为4.52万亿元,第二季度末为4.47万亿元,第三季度末为4.44万亿元,2025年末继续降至4.43万亿元,也就是说三个季度一共缩水900亿元。即便是相比2024年末,2025年末的贷款总额也减少了近200亿元,同样是处于下滑状态。

  不仅如此,民生银行的资产规模也在缩水,从2025年三季度末的7.87万亿元,减少至年末的7.83万亿元。存款的起伏不定、贷款的持续减少、资产规模的缩水,进一步加剧了民生银行的经营压力,也反映出其核心经营能力的弱化。

  不良率回升不良贷款结构恶化,重组贷款高达290亿

  除了存贷款规模缩水,民生银行的不良贷款率也有回升的趋势。截至2025年末,民生银行不良贷款率为1.49%,比2024年末的1.47%增加了0.02个百分点,不良贷款余额为661.54亿元。

  从历史数据来看,民生银行的不良率长期处于股份行较高水平,2020年一度达到了1.82%,过去这几年逐步下降,2024年末降至1.47%,但2025年又出现了反弹的迹象。而且截至2025年末,民生银行的重组贷款总额为290.07亿元,比上年末增加26.06亿元,在发放贷款和垫款总额中占比为 0.65%,比上年末上升0.06个百分点。

  这类重组贷款虽未计入不良贷款,但实际上存在较高的违约风险,一定程度上掩盖了该行真实的不良状况。一旦重组贷款无法按期履约,将直接转化为不良贷款,进一步推高不良率,加剧资产质量压力。而且过去这几年,民生银行的重组贷款一直处于增加状态,2022年为135.54亿元,不到2025年的一半。

  此外,民生银行的不良贷款结构也呈现出恶化趋势。2024年,该行损失类贷款激增66%至334.5亿元,2025年进一步增加至413.36亿元,位列股份行之首。

  次级类贷款迁徙率也从2023年的45.06%飙升至2024年的86.85%,2025年进一步升至90.11%;可疑类贷款迁徙率从2023年的46.63%上升至2024年的79.02%,2025年进一步升至89.55%,这意味着民生银行的不良贷款在持续恶化,风险处置难度进一步加大。

  在具体业务领域,信用卡业务成为不良贷款的重灾区,2025年该行信用卡不良贷款率高达3.87%,不良贷款总额167.35亿元,远高于其他业务类别。

  另外值得一提的是,民生银行信用卡中心2025年共挂牌转让信用卡透支不良贷款资产包8个批次,债权总额合计达274.4亿元,其中未偿本金总额合计142.22亿元,未偿利息总额合计132.18亿元,这也凸显了该行零售信贷业务的风险隐患。

  拨备覆盖率在股份行中垫底,抗风险能力严重不足

  拨备覆盖率是衡量银行风险抵补能力的核心指标。按照民生银行年报的说法,该行适用的拨备覆盖率和贷款拨备率的监管标准为130%和1.8%。

  数据显示,民生银行的拨备覆盖率近些年来一直在139%到150%的区间内浮动。2020年只有139.38%,2023年虽然一度回升至149.69%,但2024年又降至141.94%,2025年末略微上涨至142.04%。截至2025年末,商业银行拨备覆盖率平均水平为205.21%,民生银行与此有着明显差距。

  在股份行里面,民生银行的拨备覆盖率更是垫底,抗风险能力严重不足。尽管华夏银行2025年末已经降至143.3%,但仍略高于民生银行。

  拨备覆盖率的持续偏低,意味着民生银行用于抵御不良贷款风险的资金储备不足,一旦不良贷款规模进一步扩大,该行将面临较大的资产减值压力,甚至可能影响其流动性安全。

  除拨备覆盖率外,民生银行的贷款拨备率表现同样不佳,只有2.12%,在股份制银行中排名倒数第二,仅高于2.11%的浙商银行。贷款拨备率的偏低,进一步印证了该行风险抵补能力的薄弱。

  近年来,民生银行信用减值损失持续高企,2025年达539.5亿元,占当年归母净利润的176.52%,高额的信用减值损失直接侵蚀了该行的利润,导致净利润持续下滑,而利润的下滑又进一步限制了其拨备计提能力,形成“利润下滑—拨备不足—风险抵御能力弱化”的恶性循环。

  净利润创2012年以来新低,高迎欣薪酬却高居股份行高管第二

  在经营业绩持续承压、资产质量不断恶化的背景下,民生银行高管薪酬却始终处于行业高位,与业绩表现不是太匹配。

  年报显示,民生银行董事长高迎欣2025年的薪酬为329.2万元,较上年减少5.43万元,而且呈现逐年下降趋势,但在股份行高管中仍排名第二。行长王晓永2025年薪酬为321.08万元,副行长张俊潼298.89万元,两人分列股份行三四位。

  另外,副行长兼董事会秘书李彬250.74万元、副行长林云山250.74万元、副行长黄红日218.99万元、首席信息官张斌218.99万元、业务总监龚志坚220.93万元,副行长李稳狮2025年8月上任,领取的薪酬为75.68万元。

  与高管高薪形成鲜明对比的是,民生银行自2020年高迎欣出任董事长以来,从未出现过营收与净利润双增的情况,要么是营收下滑,要么是净利润下滑,要么是双双下滑,经营业绩持续疲软。高迎欣执掌民生银行的前一年,也就是2019年,该行实现营收1804.41亿元、归母净利润538.19亿元,但是到2025年分别下降至1428.65亿元、305.63亿元,降幅为375.76亿元和232.56亿元,净利润规模创2012年以来的新低。

  在业绩创新低的情况下,民生银行多位高管薪酬位居股份行前列,确实显得有些扎眼。当前,银行业竞争日趋激烈,风险挑战持续增多,民生银行若不能及时采取有效措施化解经营困境,加快战略转型步伐,其行业地位可能进一步下滑。拿着高薪的管理层,需要拿出有效的措施来改变当前的困难局面。

上一篇:
龚德雄调任五月后传闻成真,东方证券正式停牌筹划收购上海证券
下一篇:
《大行》花旗:内地整治「幽灵外卖」助消除及减轻监管不确定性
Title