Title
您当前的位置: 首页 > 百强企业动态 > 文章详细
烟台银行50元被执行案引关注,8000万股权冻结背后资产质量承压
发布时间:2026-04-18

  图片来源:中国执行信息公开网

  近期,烟台银行被法院列入被执行人名单。据中国执行信息公开网提供的信息显示,烟台市芝罘区人民法院对烟台银行立案执行,执行标的仅为50元,立案时间为2026年1月26日,案号为(2026)鲁0602执1208号。

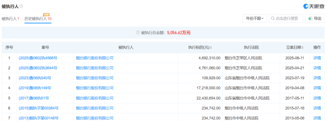
  据了解,这并非烟台银行首次成为被执行人。此前,2025年6月,该行就曾被烟台市芝罘区人民法院立案执行,执行标的469.23万元。该行还曾被法院立案执行1元。烟台银行现存10条历史被执行人记录,被执行总金额高达5056.62万元。

  图片来源:国家企业信用信息公示系统

  据国家企业信用信息公示系统显示,今年1月19日,烟台银行一笔出资额为5000万元的股权被四川省成都市中级人民法院司法冻结,冻结期限至2029年1月18日,被执行人为烟台泰鲁伟业投资有限公司。

  图片来源:国家企业信用信息公示系统

  同日,烟台银行另一笔出资额为3000万元的股权也被四川省成都市中级人民法院司法冻结,冻结期限至2029年1月18日,被执行人为烟台阳光壹佰投资有限公司。

  图片来源:国家企业信用信息公示系统

  此外,烟台银行还有一笔出资额仅为1.21万元的股权1月22日被烟台市芝罘区人民法院司法冻结,冻结期限至2029年1月21日,被执行人为烟台中翔置业有限公司。该公司及其法定代表人已两次被法院限制高消费。

  公开资料显示,烟台银行前身为烟台城市合作银行,由烟台市12家城市信用合作社合并成立,1998年更名为烟台市商业银行,2009年更为现名。该行主要股东为南山集团有限公司、烟台市财金发展投资集团有限公司、烟台国丰投资控股集团有限公司。

  截至目前,烟台银行尚未公布2025年报。中期业绩报告显示,该行2025年上半年实现营业收入16.64亿元,较2024年同期的14.17亿元增加2.47亿元,同比增长17.41%;实现净利润2.94亿元,较2024年同期的2.83亿元增加0.11亿元,同比增长4.04%;实现每股收益0.06元,较2024年同期的0.11元减少0.05元,同比下降45.45%。

  图片来源:烟台银行2025年半年报

  资产质量方面,截至2025年6月末,烟台银行的不良贷款余额为12.41亿元,较2024年末的9.42亿元增加2.99亿元,增幅为31.74%;不良贷款率为1.43%,较2024年末的1.16%上升0.27个百分点。

  值得注意的是,烟台银行的可疑类贷款增速较快。截至2025年6月末,该行可疑类贷款余额为4.69亿元,较2024年末的1.58亿元增加3.11亿元,增幅接近2倍;在不良贷款总额中占比升至37.77%,较2024年末的16.74%大幅增加21个百分点。

  数据显示,截至2025年6月末,烟台银行的总资产为1633.67亿元,同比增加3.81%;净资产为147.68亿元,同比增加38.76%;每股净资产为2.55元,同比下降9.25%。

  (来源:城市金融报财观新闻)

上一篇:
股价创新高后,宁德时代大股东出手!拟减持5800万股,套现超257亿,原因系自身资金需求
下一篇:
“隐藏”5年,雷军终于给他一个正式的名分!
Title