Title
您当前的位置: 首页 > 百强企业动态 > 文章详细
青岛国资加持,海尔消金注册资本飙升10亿,但暴力催收、违规扣费问题待解
发布时间:2026-04-10

  4月10日消息,海尔消费金融近期动作频频,3月刚刚完成B轮融资,注册资本飙升50%,引入地方国资。但与此同时,金石随笔发现,在第三方投诉平台,海尔消金卷入投诉风波,累计投诉量高达1.6万条。

  天眼查显示,海尔消金在3月16日完成B轮融资,本次融资金额超10亿,青岛国信领投,其中,青岛国信背后是青岛国资,聚焦金融、海洋、生物医疗等产业。

  根据公告,海尔消金本次新增注册资本10.28亿元,由20.9亿元增至31.18亿元,增幅近50%。

  此外,本次增资还引入了上海海通云创智能数字科技有限公司,持股比例为4.97%;另一家青岛地方国资青岛林葱贸易,背后实控人为青岛崂山区国资。

  此前,海尔消金已经完成2轮融资,其中,海尔集团是大股东,持股49%,本次引入的青岛国信、青岛林葱贸易、上海海通云创三家新股东,合计持股16.81%。

  在2018年7月A轮融资中,公司引入了海尔财务、红星美凯龙以及大连金投。其中,红星美凯龙在近1月被列为被执行人,仅2025年巨额亏损258.67亿,去年同期亏损37.28亿,核心是深度绑定地产。

  海尔消金由成立于2014年,由海尔集团发起设立,目前主要通过海尔消费金融APP、够花APP和场景分期进行运营。

  截至2025年6月末,海尔消金总资产为338.87亿元,较年初增长了15.47%。2025年上半年,海尔消金实现营收16.21亿元,同比增长33.42%,实现净利润2.12亿元,同比增长19.77%。

  参考海尔消金金三年业绩,公司业绩增速不断放缓,25年上半年利润增速已不足20%,此前三年年度增速则从140%降至33%再降至22%。

  不过,金石随笔发现,在黑猫投诉平台,关于海尔消金的投诉开始增多。累计投诉高达1.6万条,近30日投诉超300条。核心聚焦暴力催收、借款利率过高、违规收费、诱导贷款等行业乱象。

  1)暴力催收。有用户投诉,海尔消金泄露隐私、暴力催收,第三方多次发短信威胁;还有用户投诉称,非法渠道收集个人信息,催收过程中骚扰家人、朋友、同事等,并将其个人情况大肆宣扬。

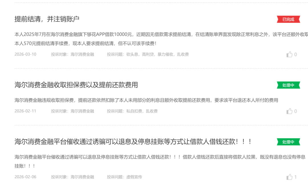
  2)违规扣费、乱收费。有用户投诉,25年7月在够花APP借款10000元,提前结清却发现除了正常利息之外,还要额外收取570元罚息;

  另一位用户投诉内容基本一样:海尔消费金融违规收取担保费,提前还款依然扣除了本人未用部分的利息且额外收取提前还款费用,要求该平台退还本人所付的费用。

  3)诱导借款,有用户投诉:海尔消费金融平台催收通过诱骗可以退息及停息挂账等方式让借款人借钱还款!!!借款人借钱还款后直接将借款人拉黑,既没有退息也没有停息挂账。

  4)海尔消金同样存在高额利息的情形,有用户投诉,自己在24年11月在够花借款5000元,12期等额,每期固定472.8元,累计支付息费673.57元。

  据金石随笔计算,利率正好24%,利率确实达到了监管硬红线上限。该用户投诉:本人借款时(2024年11月)1年期LPR为3.45%,对应法定保护上限仅为年化13.8%,该平台收取的利率远超国家法定红线,属于严重违规收取高额利息,必须将超收利息退还。

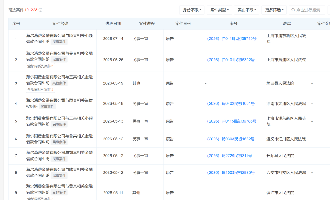
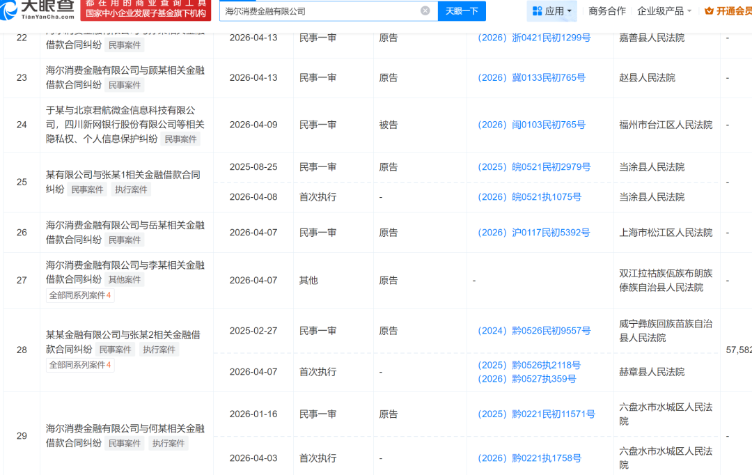
  据天眼查,海尔消金投诉高达10万条,基本都是因为借款合同纠纷,此外还涉及追偿权纠纷等情形。此外,海尔消费金融则因为触发隐私等问题被列为被告。

上一篇:
(深互动)顺丰控股:2024–2028年现金分红比例将在35%基础上稳步提高,2024–2025年已提至40%
下一篇:
小米不平庸
Title